Skip to content

faint4/DataSec

 
 

Repository files navigation

背景

2021年数据安全法的颁布,由于政策驱动,各家企业对数据安全的关注度增加。我所在的公司也不例外,我作为一名安全工程师,我的工作内容就包含检测数据安全部分,需要检测业务系统在使用数据过程中是否存在违规情况,比如密码、银行卡字段明文存储在数据库。

之前刚开始去做这个事情的时候,我是手工从数据库中逐个检测数据表的内容是否存在违规数据,这个过程非常耗时且效率极低。比如之前我有100个库,每个里面有100个表,光打开它们就需要一定的时间,更别提对里面的字段内容进行检查

为了提升这方面的工作效率,我写了一个工具,使用这个工具来进行检测可以大幅度提升工作效率。

而且我只需维护数据库配置和检测规则,工具会自动对每个数据库执行检测任务,并对分析库中的表数据和生成报告。

以下是产品的功能介绍

数据库

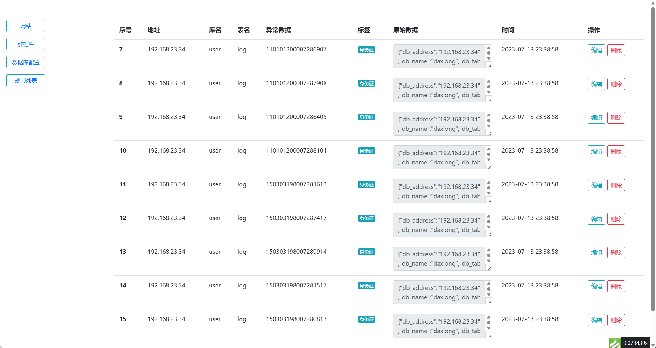
下图中可以看到:已将不符合数据安全规范的异常数据标记出来,并告知异常数据来源自某数据库、数据表。

规则列表

在此处添加检测规则并对应标签,当在数据库中检测到符合的规格将会展示在菜单“数据库”,并打上标签

数据库配置

在此处添加所要检测的数据库地址,添加完成后会根据规则列表去检索符合规则的数据,检查结果在菜单“数据库”中查看

作者:婷婷的橙子

About

No description, website, or topics provided.

Resources

License

Stars

Watchers

Forks

Releases

No releases published

Packages

No packages published

Languages

  • PHP 68.5%
  • HTML 31.5%